무인자동차 | 검색결과 - zum 허브
이전 페이지로
검색
검색창 비우기
연관검색어
IT기업
자동차
구글
인공지능
자율주행
구글카
서정훈
ALPHABET
케어엣홈
스마트카
허브글
23
추천채널
정확도순
최신순
테크니들
모바일게임 ‘모뉴먼트 밸리’ 개발사가 발표한
무인자동차
디자인
모바일게임 ‘모뉴먼트 밸리’ 시리즈를 개발한 ustwo가 ‘Roo’라는 이름의
무인자동차
디자인을 발표했다. ustwo에서
무인자동차
디자인을 담당하는 ustwo AUTO팀은 자사의 블로그를 통해 ‘Roo’의 컨셉 이미지와 디자인 원칙을 밝혔다. 그간 ustwo가 ‘모뉴먼트 밸리’, ‘Dice’, ‘Sway’ 등의 서비스를 통해 우수...
윤
스마트TV에서 엿보이는
무인 자동차
의 핵심 키 - 테슬라
신규 진입자들은 그 방법을 찾기 마련이다. 이제
무인 자동차
라는 시장으로 들어와 보자. 기존 세력과 신규 세력의 장단점은 명확하게 나뉜다. 애플과 구글은 자동차 프레임, 주행 질감 등 자동차라는 것에 대한 이해와 접근이 부족하다. 하지만 효율적인 운전체계와 자원의 최적 배분이라는 명분이라는 무...
장우진
구글의 인공지능(알파고)과 구글이 보여준 '
무인 자동차
'의 미래
가능한 인공 지능 컴퓨터 '알파고'. 유럽 챔피언을 꺾은 '알파고'가 세계 최고로 불리는 '이세돌 9단'에게 연거푸 승리를 했다. 허를 찌르는 수, 인간(바둑 프로)이라면 이해할 수 없는 상상할 수 없는 수를 두며 여유있게 승리를 가져갔다. 구글의 인공지능과
무인자동차
. 트랜스포머의 등장 초읽기일까? 20...
장우진
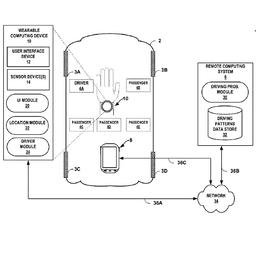
구글의 '스마트 자동차' 관련 특허, 자동차의 미래를 보여줬다
최근 몇 년간 '
무인 자동차
', '스마트 자동차(Smart car)'의 개발에 투자를 하면서 자동차 산업의 지형도를 바꾸기 위해 많은 노력을 기울이고 있습니다. 구글이 '자동차'를 좀 더 스마트하고 편리한 도구로 만들기 위한 노력을 이어나가고 있는 가운데, 구글이 특허 출원한 '스마트 자동차'의 작동 방법에 ...
장우진
애플 카(Apple Car), 2019년 출시 목표. 과연 혁명이 될까?
설립한 지 10여년이 지났고(2003년 설립), 시장 점유율은 극히 미약하지만 '전기차'의 가능성을 보여주면서 향후 자동차 업계에 변화의 바람이 불어올 것이라는 이야기가 있기도 했습니다. 한편, '테슬라 모터스'가 일으키기 시작한 전기차 물결 속에서 구글은 '
무인 자동차
'의 장거리 시운전을 완료한 상태...
비즈니스포스트
구글 폭풍전야, 심각한 위기 어떻게 극복할까
미래의 새로운 전략으로 내세웠던 사업들도 죄다 실패하거나 시장에서 차가운 반응을 얻고 있다. 구글의 주력사업인 인터넷 검색과 광고수익도 점차 아마존과 같은 경쟁자들에게 자리를 내주고 있다. 래리 페이지는 검색시장 최강자라는 구글의 달콤한 현실에 안주하는 대신
무인자동차
사업과 인공지능 등...
중앙일보
넘어지는 순간 에어백이 '펑'…시니어용 낙상방지 IT제품들
판매가격은 800달러(약 80만원) 정도가 될 예정이다. 워라봇의 낙상 감지장치 마지막으로 소개할 제품은
무인자동차
등에 사용되는 3D 이미지센서를 활용한 낙상 감지장치다. 2016년 설립된 워라봇(Walabot)은 바이야이미징 회사(Vayyar Imaging, LTD)의 3D 이미지 센서기술을 활용해 사람 및 사물의 움직...
버티컬플랫폼
Alphabet의 A to Z 리스트, 그리고 우리가 가야할 길
것이 기본적인 골자이다. 앞으로는 Google의 인터넷 사업 자체와 관련성이 떨어지는 사업을 독립적으로 운영하게 되는 것이다. Google은 사실 최근 몇년간 Moonshot Thinking이라는 모토하에 다양한 영역에서 혁신적인 시도들을 전개해 왔다.
무인자동차
, 로봇, 드론, 생명과학이나 우주사업을 비롯하여 사...
권빈
INFOTAINMENT의 신세계를 누가 먼저 입성하는가?
HEV (Hybrid electricvehicle)과 ADAS(Advanced driver assistance systems) 가 성장률이 단연 압도적으로 높다. 즉, 아직까지 자동차 본질의 전기나 Hybrid에 대한 원리, 그리고 최근 구글로부터 촉발이 된
무인 자동차
운전에 관한 부품의 매출이 압도적으로 높은 상황이다. 그러나 우리가 여기서 주목해 ...
안병도
다가오는 인공지능 시대, 우리 삶은 어떻게 변할까?
인공지능이 이런 자동차 운전에도 도전하고 있다. 자율주행차는 운전자가 핸들과 가속페달, 브레이크 등을 조작하지 않아도 스스로 목적지까지 찾아가는 자동차이다. 엄밀한 의미에서는 사람이 타지 않은 상태에서 움직이는
무인자동차
와는 다소 다른 개념이지만 혼용되고 있다. 사람이 탑승했어도 운전을 ...
더보기
더 많은 검색결과
를 알고싶다면?
‘
무인자동차
’
로 통합검색하기
쓰담쓰담
글 10
쓰담쓰담에서 반려동물에 대한 재미와 소식을 한번에 만나보세요!
연합뉴스TV
글 1
국가기간뉴스통신사 연합뉴스와 한국 대표 금융경제 정보매체 연합인포맥스를 아우르는 국내 유일의 방송-뉴스통신 융합 첨단 디지털 영상뉴스 서비스.
비원뉴스
글 19
비원뉴스는 건강, 음식, 운동 및 라이프스타일 정보를 중심으로 깊이 있는 분석과 빠른 정보를 전하는 인터넷 종합 미디어입니다.